TOPWAY
LCD   Module   User   Manual  
LMT084DNEFWD
 
MODEL NO :
LMT084DNEFWD
MODEL VERSION:
V0.1
SPEC VERSION :
ISSUED DATE:
2018-11-25
Preliminary Specification
Prepared by
Checked by
Approved by
  1   /   16  
 
TOPWAY
LCD   Module   User   Manual  
LMT084DNEFWD
 
Table of Contents
Table of Contents ....................................................................................................................................................... 2
1
General Specifications ...................................................................................................................................... 3
2
Input/Output Terminals ..................................................................................................................................... 4
3
Absolute Maximum Ratings ............................................................................................................................ 6
4
Electrical Characteristics ................................................................................................................................. 7
5
Timing Chart ..................................................................................................................................................... 9
6
Optical Characteristics .................................................................................................................................... 13
7
Environmental / Reliability Test ................................................................................................................... 16
  2   /   16  
 
TOPWAY
LCD   Module   User   Manual  
LMT084DNEFWD
 
1 General Specifications
Feature
Spec
Size
8.4 inch
Resolution
800(RGB) x 600
Technology Type
a-Si TFT
Pixel Configuration
R.G.B. Vertical Stripe
Display Spec.
Pixel pitch(mm)
0.213 × 0.213
Display Mode
Transmissive, Normally white
Surface Treatment
Anti-Glare
Viewing Direction
12 o’clock
Gray Scale Inversion Direction
6 o’clock
LCM (W x H x D) (mm)
189.75x 149.4 x 4.8
Active Area(mm)
170.4 (W) X127.8(H)
Mechanical
With /Without TSP
Without TSP
Matching Connection Type(CN1)
FH28-60S-0.5SH(Hirose)
Characteristics
Matching Connection Type(CN2)
BHSR-02VS-1
LED Numbers
27 LEDS
Weight (g)
245
Interface
TTL(RGB 24bit)
Electrical
Characteristics
Color Depth
16.7M
Driver IC
NT51008B*2+NT52002*1
Note 1: Viewing direction for best image quality is different from TFT definition. There is a 180 degree
shift.
Note 2: Requirements on Environmental Protection: Q/S0002
Note 3: LCM weight tolerance: +/- 5%
  3   /   16  
 
TOPWAY
LCD   Module   User   Manual  
LMT084DNEFWD
 
2 Input/Output Terminals
2.1 CN1 of FPC
Matched Connector type: FH28-60S-0.5SH(Hirose)
Pin
Symbol
I/O
Description
Remark
1
GND
P
Ground
2
NC
-
No connection
3
VCC
P
Power supply
4
R0
I
Red data Input(LSB)
5
R1
I
Red data Input
6
R2
I
Red data Input
7
R3
I
Red data Input
8
R4
I
Red data Input
9
R5
I
Red data Input
10
R6
I
Red data Input
11
R7
I
Red data Input(MSB)
12
G0
I
Green data Input(LSB)
13
G1
I
Green data Input
14
G2
I
Green data Input
15
G3
I
Green data Input
16
G4
I
Green data Input
17
G5
I
Green data Input
18
G6
I
Green data Input
19
G7
I
Green data Input(MSB)
20
B0
I
Blue data Input(LSB)
21
B1
I
Blue data Input
22
B2
I
Blue data Input
23
B3
I
Blue data Input
24
B4
I
Blue data Input
25
B5
I
Blue data Input
26
B6
I
Blue data Input
27
B7
I
Blue data Input(MSB)
28
DCLK
I
Clock input(L atch data at falling edge )
29
DE
I
Data enable
30
HSYNC
I
Horizontal sync input. Negative polarity
31
VSYNC
I
Vertical sync input. Negative polarity
DE/SYNC mode select .normally pull high
32
MODE3
I
H:DE mode .L:HV mode
Global reset pin. RSTB= 0 ,module reset;
33
RSTB
I
RSTB= 1 normal operation
Standby mode, normally pull high
34
STBYB
I
STBYB="1",normal operation
STBYB="0",source driver will turn off, all output are high-Z
Source right or left sequence control,normally pull high
35
SHLR
I
SHLR="L", shift left: last data=S1<-S2 S1200=first data ;
SHLR="H", shift right :first data=S1->S2 S1200=last data
36
VCC
P
Power supply
  4   /   16  
 
TOPWAY
LCD   Module   User   Manual  
LMT084DNEFWD
 
Gate up or down scan control. Normally pull low
37
UPDN
I
UPDN="L" , DOWN shift :G1->G2 ->G600 ;
UPDN="H", up shift: G1<-G2 <-G600
38
GND
P
Ground
39
GND
P
Ground
40
NC
-
No connection
41
NC
-
No connection
Dithering setting
DITH="H" 6bit resolution (last 2 bits of input data truncated,
42
DITH
I
default setting)
DITH="L" 8bit resolution
43
NC
-
No connection
44
NC
-
No connection
45
NC
-
No connection
46
NC
-
No connection
47
NC
-
No connection
48
NC
-
No connection
49
NC
-
No connection
50
NC
-
No connection
51
NC
-
No connection
52
NC
-
No connection
53
NC
-
No connection
54
NC
-
No connection
55
NC
-
No connection
56
NC
-
No connection
57
NC
-
No connection
58
NC
-
No connection
59
GND
P
Ground
60
NC
-
No connection
I---Input, O---Output, P--- Power/Ground, - ---No connection
Table 2.1 terminal pin assignments
2.2 CN2 pin assignment (Backlight interface)
Mating Connector: SBHT-002T-P0.5 or equivalent
Pin
Symbol
I/O
Description
Remark
1
LED+(Anode)
P
LED power supply (high voltage)
2
LED-(Cathode)
P
LED power supply (low voltage)
Table 2.2 Backlight terminal pin assignments
  5   /   16  
 
TOPWAY
LCD   Module   User   Manual  
LMT084DNEFWD
 
3 Absolute Maximum Ratings
GND=0V, Ta = 25
Item
Symbol
MIN
MAX
Unit
Remark
Power Voltage
VCC
-0.5
5.0
V
Data Input voltage
V IN
-0.5
5.0
V
Note1
Backlight forward current
I LED
-
30
mA
For each LED
Operating Temperature
Top
-20
70
Storage Temperature
Tst
-30
80
--
95
%
Ta 40
--
85
%
40 ℃< Ta 50
Relative Humidity
RH
--
55
%
50 ℃< Ta 60
(Note2)
--
36
%
60 ℃< Ta 70
--
24
%
70 ℃< Ta 80
Absolute Humidity
AH
--
70
g/m
Ta 70
Table 3.1 absolute maximum rating
Note1: Signals input include Rx,Gx,Bx,DCLK,DE,HSYNC,VSYNC,MODE3,RSTB,STBYB,SHLR,
DITH.
Note2: Ta means the ambient temperature.
It is necessary to limit the relative humidity to the specified temperature range.
Condensation on the module is not allowed.
  6   /   16  
 
TOPWAY
LCD   Module   User   Manual  
LMT084DNEFWD
 
4 Electrical Characteristics
4.1 Recommended Operating Condition
VCC=3.3V GND=0V Ta = 25
Item
Symbol
Min
Typ
Max
Unit
Remark
Supply Voltage
VCC
3.0
3.3
3.6
V
Input Signal Low Level
V IL
0
--
0.3xVCC
V
Voltage
High Level
V IH
0.7xVCC
--
VCC
V
Output
Low Level
V OL
--
--
GND+0.4
V
Signal
Voltage
High Level
V OH
VCC-0.4
--
--
V
(Panel+LSI)
Black Mode (60Hz)
--
660
--
mW
Note1
Power Consumption
Standby Mode
--
400
--
mW
Table 4.1 LCD module electrical characteristics
Note1: To test the current dissipation, use “all Black Pattern”.
4.2 Backlight Unit Driving Condition
LED_GND=GND=0V, Ta = 25
Item
Symbol
Min
Typ
Max
Unit
Remark
I
Channel1
F
-
180
225
mA
Note 1
Forward Voltage
V F
9
9.6
10.8
V
Backlight Power Consumption
W BL
-
1728
-
mW
Life Time
-
-
30,000
-
Hrs
Note 3
Table 4.2 LED backlight characteristics
Note 1: If LED is driven by high current, high ambient temperature & humidity condition. The life time
of LED will be reduced. Operating life means brightness goes down to 50% initial brightness.
Typical operating life time is an estimated data.
Figure4.2 LED connection of backlight
  7   /   16  
 
TOPWAY
LCD   Module   User   Manual  
LMT084DNEFWD
 
4.3 BLOCK DIAGRAM
LCD Panel
R[7:0] G[7:0] B[7:0]
Data
VCOM
bus
Source + Gate
&
Driver
TCON
VSYNC HSYNC
8.4 inch
DE DCLK
800(RGB)*600
Control
signal input
Grayscale
Manipulation
Voltage
Vcc GND
DC/DC
Power
VLED+ VLED-
BLU
BLU
  8   /   16  
 
TOPWAY
LCD   Module   User   Manual  
LMT084DNEFWD
 
5 Timing Chart
5.1.1 AC characteristics
VCC=3.3V, GND=0V, Ta=25 ℃
Parameter
Symbol
Min
Typ
Max
Unit
Remark
HSYNC Setup Time
T hst
8
-
-
ns
HSYNC Hold Time
T hhd
8
-
-
ns
VSYNC Setup Time
T vst
8
ns
VSYNC Hold Time
T vhd
8
-
-
ns
Data Setup Time
T dsu
8
ns
Data Hold Time
T dhd
8
-
-
ns
DE Setup Time
T esu
8
-
-
ns
DE Hold Time
T ehd
8
-
-
ns
CLKIN Cycle Time
T cph
14
-
-
ns
CLKIN Pulse Width
T cwh
40
50
60
%
Output stable time
Tsst
-
-
6
us
-
-
From 0V to 90%
VCC Power ON Slew rate
Tpor
20
ms
VCC
RSTB pulse width
TRst
50
-
-
us
DCLK = 65MHz
Table 5.1 AC characteristics
Figure 5.1 AC characteristics
  9   /   16  
 
TOPWAY
LCD   Module   User   Manual  
LMT084DNEFWD
 
5.2 Data input timing
     5.2.1 Input timing at DE mode  
VCC=3.3V, GND=0V, Ta=25
Parameter
Symb
Min.
Typ.
Max.
Unit
Remark
ol
Dclk frequency(Frame rate=60HZ)
Fclk
33
39.6
60
MHz
Tclk=1/Fclk
Horizontal total
TH
890
1000
1300
Tclk
Horizontal
section
Horizontal blanking
THC
90
200
500
Tclk
Note1
Valid Data Width
THD
-
800
-
Tclk
Vertical total
TV
610
660
800
TH
Vertical
section
Vertical blanking
TVC
10
60
200
TH
Note1
Valid Data Width
TVD
-
600
-
TH
Table 5.2.1 input timing (DE mode)
5.2.2
Input timing at HV mode
VCC=3.3V, GND=0V, Ta=25
Parameter
Symb
Min.
Typ.
Max.
Unit
Remark
ol
Dclk frequency(Frame rate=60HZ)
Fclk
35
39.6
50
MHz
Tclk=1/Fclk
Horizontal pulse width THPW
1
-
40
Tclk
Horizontal total
TH
900
1000
1200
Tclk
Horizontal
section
Horizontal back porch
THB
88
88
88
Tclk
Horizontal front porch
THFP
12
112
312
Tclk
Valid Data Width
THD
-
800
-
Tclk
Vertical pulse width
TVPW
1
-
20
TH
Vertical total
TV
640
660
700
TH
Vertical
section
Vertical back porch
TVB
39
39
39
TH
Vertical front porch
TVFP
1
21
61
TH
Valid Data Width
TVD
-
600
-
TH
Table 5.2.2 input timing (HV mode)
Note1: THC=THB+THFP, TVC=TVB+TVFP, In HV mode, it is necessary to keep it in typical value.
  10   /   16  
 
TOPWAY
LCD   Module   User   Manual  
LMT084DNEFWD
 
5.3
Data input Timing Diagram
5.3.1 Vertical Input Timing Diagram
Figure 5.3.1 Vertical Input Timing Diagram
5.3.2 Horizontal Input Timing Diagram
Figure5.3.2 Vertical Input Timing Diagram
  11   /   16  
 
TOPWAY
LCD   Module   User   Manual  
LMT084DNEFWD
 
5.4
POWER ON/OFF SEQUENCE
Item
Symbol
Min
Typ
Max
Unit
Remark
VCC 3.3V to signal starting
Tp1
5
-
50
ms
VCC rising time
Tr
0.1
-
5
ms
Note1
Signal starting to backlight on
Tp2
150
-
-
ms
Signal off to VCC 0V
Tp3
5
-
50
ms
Backlight off to signal off
Tp4
150
-
-
ms
Table 5.4 POWER ON/OFF SEQUENCE
Note1: Tr means the time of input voltage rise from 10% to 90%.
Tp3
3.3V
Tp1
0V
VCC
Signal
Tp2
Tp4
Backlight
Figure5.4 Interface power on/off sequence
  12   /   16  
 
TOPWAY
LCD   Module   User   Manual  
LMT084DNEFWD
 
6 Optical Characteristics
Ta=25
Item
Symbol Condition
Min
Typ
Max
Unit
Remark
θ T
50
60
-
θ B
60
70
-
View Angles
CR 10
Degree Note 2
θ L
60
70
-
θ R
60
70
-
Note1
Contrast Ratio
CR
θ =0°
400
500
-
Note3
T ON
Note1
Response Time
25
-
20
30
ms
T OFF
Note4
x
0.260
0.310
0.360
White
y
0.280
0.330
0.380
x
0.551
0.601
0.651
Red
y
Backlight is
0.281
0.331
0.381
Note1
Chromaticity
x
on
0.307
0.357
0.407
Note5
Green
y
0.527
0.577
0.627
x
0.102
0.152
0.202
Blue
y
0.056
0.106
0.156
Note1
Uniformity
U
70
75
-
%
Note6
NTSC
-
50
-
%
Note 5
2
Luminance Without
L
280
350
-
cd/m
Note1
TP
Note7
Test Conditions:
1.
I F = 180 mA, V F =10.5 V and the ambient temperature is 25±2 .humidity is 65±7%
2.
The test systems refer to Note 1 and Note 2.
  13   /   16  
 
TOPWAY
LCD   Module   User   Manual  
LMT084DNEFWD
 
Note 1: Definition of optical measurement system.
The optical characteristics should be measured in dark room. After 5 Minutes operation, the optical
properties are measured at the center point of the LCD screen. All input terminals LCD panel must
be ground when measuring the center area of the panel.
Photo detector
Item
Photo detector
Field
Field
Contrast Ratio
Luminance
SR-3A
500mm
Chromaticity
TFT-LCD Module
LCD Panel
Lum Uniformity
Response Time
BM-7A
The center of the screen
Note 2:
Definition of viewing angle range and measurement system.
viewing angle is measured at the center point of the LCD by CONOSCOPE(ergo-80)
Note 3: Definition of contrast ratio
“White state “: The state is that the LCD should drive by Vwhite.
“Black state”: The state is that the LCD should drive by Vblack.
  14   /   16  
 
TOPWAY
LCD   Module   User   Manual  
LMT084DNEFWD
 
Vwhite: To be determined
Vblack: To be determined.
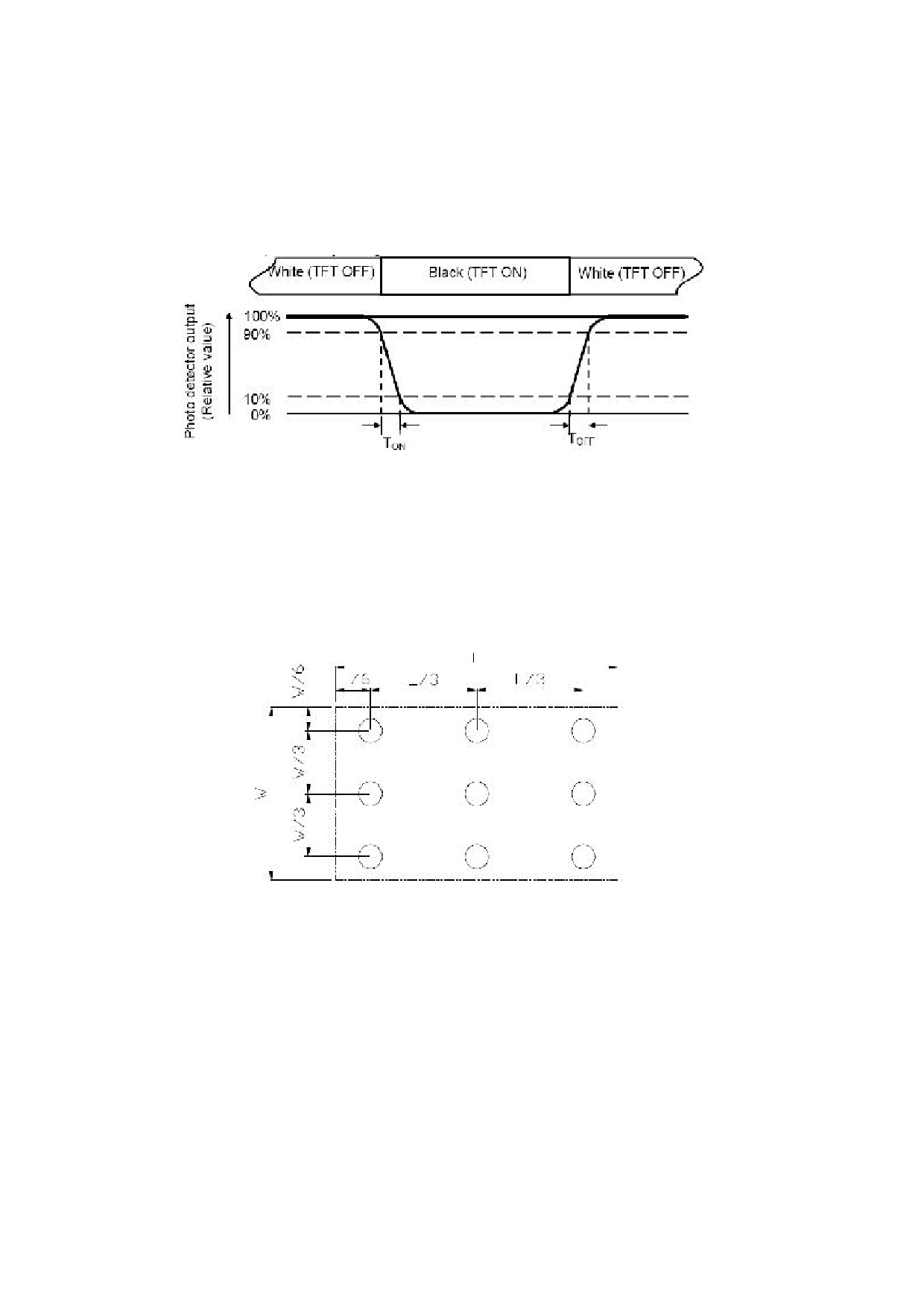
Note 4: Definition of Response time
The response time is defined as the LCD optical switching time interval between “White” state and
“Black” state. Rise time (T ON ) is the time between photo detector output intensity changed from 90% to
10%. And fall time (T OFF ) is the time between photo detector output intensity changed from 10% to 90%.
Note 5: Definition of color chromaticity (CIE1931)
Color coordinates measured at center point of LCD.
Note 6: Definition of Luminance Uniformity
Active area is divided into 9 measuring areas (Refer Fig. 2). Every measuring point is placed at the center
of each measuring area.
Luminance Uniformity (U) = Lmin/ Lmax
L-------Active area length W----- Active area width
Lmax: The measured Maximum luminance of all measurement position.
Lmin: The measured Minimum luminance of all measurement position.
Note 7: Definition of Luminance:
Measure the luminance of white state at center point.
  15   /   16  
 
TOPWAY
LCD   Module   User   Manual  
LMT084DNEFWD
 
7 Environmental / Reliability Test
No
Test Item
Condition
Remarks
1
High Temperature Ts = +70 , 240 hours
IEC60068-2-1
Operation
GB2423.2
2
Low Temperature Ta = -20 , 240 hours
IEC60068-2-1
Operation
GB2423.1
3
High Temperature Ta = +80 , 240 hours
IEC60068-2-1
Storage
GB2423.2
4
Low Temperature Ta = -30 , 240 hours
IEC60068-2-1
Storage
GB2423.1
Storage at High
IEC60068-2-78
5
Temperature and Ta = +60 , 90% RH max,240hours
Humidity
GB/T2423.3
-30 30 min~+80 30 min,
Start with cold temperature,
6
Thermal Shock
End with high temperature,
(non-operation)
Change time:5min, 100 Cycle
IEC60068-2-14,GB2423.22
C=150pF,R=330 Ω ,5point/panel
Air:±8Kv,5times;
7
ESD
Contact:±4Kv,5times
IEC61000-4-2
(Environment:15 ~35 ,
GB/T17626.2
30%~60%.86Kpa~106Kpa)
Frequency range:10~55Hz
Stroke:1.5mm
8
Vibration Test
Sweep:10Hz~55Hz~10Hz
IEC60068-2-6
2 hours for each direction of X.Y.Z.
GB/T2423.10
(6 hours for total)
Half Sine Wave
9
Mechanical Shock 60G 6ms, ±X,±Y,±Z
IEC60068-2-27
(Non Op)
3times for each direction
GB/T2423.5
Package Drop
Height:60cm,
IEC60068-2-32
10
Test
1corner,3edges,6surfaces
GB/T2423.8
Note1: Ts is the temperature of panel’s surface.
Note2: Ta is the ambient temperature of samples.
  16   /   16