LMT088EAPFWA-NAN
LCD Module User Manual
Prepared by:
Checked by:
Approved by:
Song Mao
Date: 2025-08-01
Date:
Date:
Rev. Descriptions
Edit
Release Date
0.1
Preliminary release
Song Mao 2025-08-01
URL: www.topwaydisplay.com
Document Name: LMT070DICFWD-NFD-Manual-Rev0.3.doc
www.topwaysz.com
Page: 1 of 8
TOPWAY
LCD Module User Manual
LMT088EAPFWA-NAN
Table of Content
1. General Specification....................................................................................................................3
2. Block Diagram................................................................................................................................3
3. Terminal Function..........................................................................................................................4
3.1 K1 Power Terminal......................................................................................................................................................... 4
3.2 K2 Micro HDMI Terminal................................................................................................................................................ 4
4. Absolute Maximum Ratings......................................................................................................... 4
5. Electrical Characteristics..............................................................................................................5
5.1 Driving TFT LCD Panel...................................................................................................................................................5
6. Optical Characteristics..................................................................................................................5
7. LCD Module Design and Handling Precaution...........................................................................7
Warranty..............................................................................................................................................8
URL: www.topwaydisplay.com
Document Name: LMT088EAPFWA-NAN-Manual-Rev0.1.docx
Page: 2 of 8
TOPWAY
LCD Module User Manual
LMT088EAPFWA-NAN
1. General Specification
Screen Size(Diagonal) :
8.8”
Active Area :
54.72 x 218.88 (mm)
Number of dots :
480x3(RGB) x 1920
Pixel Pitch :
0.114 x 0.114 (mm)
Color Depth:
16.7M
Display Technology
a-Si TFT active matrix
Signal Interface :
HDMI
Display Mode :
Transmissive / Normal Black
Outline Dimension :
70.4 x 252.0 x 12.7max (mm)
(see outline drawing for details)
Pixel Configuration :
RGB Stripe
Viewing Direction :
Full
Backlight :
LED
Operating Temperature :
-20°C ~ +70°C
Storage Temperature :
-30°C ~ +80°C
Note:
*1. For saturated color display content (eg. pure-red, pure-green, pure-blue or pure-colors-combinations).
*2. For “color scales” display content.
*3. Color tone may slightly change by temperature and driving condition.
2. Block Diagram
TMDS Data2+/-, TMDS Data1+/-
HDMI
TMDS Data0+/-, TMDS Clock+/-
Interface
Source Driver
SDA, SCL
VBUS
GND
Power Circuit
Backlight Circuit
URL: www.topwaydisplay.com
Document Name: LMT088EAPFWA-NAN-Manual-Rev0.1.docx
Page: 3 of 8
TOPWAY
LCD Module User Manual
LMT088EAPFWA-NAN
3. Terminal Function
3.1 K1 Power Terminal
Pin No.
Pin Name
IO
Descriptions
A1/B12
GND
Power Power Supply GND (0V)
A4/B9
VBUS
Power Positive Power Supply(5.0V)
A5
NC
-
No connection
B8
NC
-
No connection
B7
NC
-
No connection
A6
NC
-
No connection
B6
NC
-
No connection
A7
NC
-
No connection
B5
NC
-
No connection
A8
NC
-
No connection
B4/A9
VBUS
Power Positive Power Supply(5.0V)
A12/B1
GND
Power Power Supply GND (0V)
Note: *1. Terminal: USB TYPE-C
3.2 K2 Micro HDMI Terminal
Pin No.
Pin Name
IO
Descriptions
1
Hot Plug Detect
Output Hot Plug Detect signal
2
Utility
-
No connection
3
TMDS Data2+
Input HDMI receiver positive signal channel 2
4
TMDS Data2 Shield Power Signal Ground
5
TMDS Data2-
Input HDMI receiver negative signal channel 2
6
TMDS Data1+
Input HDMI receiver positive signal channel 1
7
TMDS Data1 Shield Power Signal Ground
8
TMDS Data1-
Input HDMI receiver negative signal channel 1
9
TMDS Data0+
Input HDMI receiver positive signal channel 0
10
TMDS Data0 Shield Power Signal Ground
11
TMDS Data0-
Input HDMI receiver negative signal channel 0
12
TMDS Clock+
Input HDMI receiver positive signal clock
13
TMDS Clock Shield Power Signal Ground
14
TMDS Clock-
Input HDMI receiver negative signal clock
15
CEC
-
No connection
16
DDC/CEC Ground
Power Signal Ground
17
SCL
Input Serial data clock
18
SDA
Output Serial data out
19
+5V Power
Power Power supply for DDC memory
Note: *1. Support Standard HDMI Signal, from PC:
- 480x1920,60Hz
4. Absolute Maximum Ratings
Top=25 ℃ , VBUS =5.0V ,GND=0V
Items
Symbol
Min.
Max.
Unit
Condition
Power Supply Voltage
VBUS
-0.3
+5.5
V
Operating Temperature
T OP
-20
70
C
No Condensation
Storage Temperature
T ST
-30
80
C
No Condensation
Note:
*1. This rating applies to all parts of the module. And should not be exceeded.
*2. The operating temperature only guarantees operation of the circuit. The contrast, response speed,
and the other specification related to electro-optical display quality is determined at the room temperature, T OP =25 ℃ .
*3. Ambient temperature when the backlight is lit (reference value).
*4. Any Stresses exceeding the Absolute Maximum Ratings may cause substantial damage to the device. Functional
operation of this device at other conditions beyond those listed in the specification is not implied and prolonged
exposure to extreme conditions may affect device reliability.
URL: www.topwaydisplay.com
Document Name: LMT088EAPFWA-NAN-Manual-Rev0.1.docx
Page: 4 of 8
TOPWAY
LCD Module User Manual
LMT088EAPFWA-NAN
5. Electrical Characteristics
5.1 Driving TFT LCD Panel
Top=25 ℃ , VBUS =5.0V ,GND=0V
Items
Symbol
MIN.
TYP.
MAX.
Unit
Note
Supply Voltage
VBUS
4.5
5.0
5.5
V
VDD Power Consumption
I VBUS
-
800
-
mA
6. Optical Characteristics
Item
Symbol
Condition
MIN.
TYP.
MAX.
UNIT
Note.
Contrast
CR
600
800
-
-
Note 1,2,4
Response Time
Tr+Tf
-
30
40
msec
Note 1,3
White Luminance(Center)
L
-
600
-
cd/m 2
Note 1,4
R X
0.576 0.626 0.676
Red
R Y
θ=0
0.295 0.345 0.395
G X
Normal
0.262 0.312 0.362
Green
viewing
G Y
0.493 0.543 0.593
Chromaticlty
angle
Note 1,4
B X
0.097 0.147 0.197
Blue
B Y
0.059 0.109 0.159
W X
0.250 0.300 0.350
White
W Y
0.272 0.322 0.372
θ L
75
85
-
Hor.
Viewing angle
θ R
75
85
-
CR > 10
Note 1,4
θ L
75
85
-
Ver.
θ D
75
85
-
Brightness uniformity
B UNI
θ=0
(9point)
70
80
-
Note 5
NTSC
50
%
View Direction
Full
Note 6
Measuring surrounding: dark room
LED current IL:160mA
Ambient temperature:25 ± 2 ℃
15min.warm-up time.
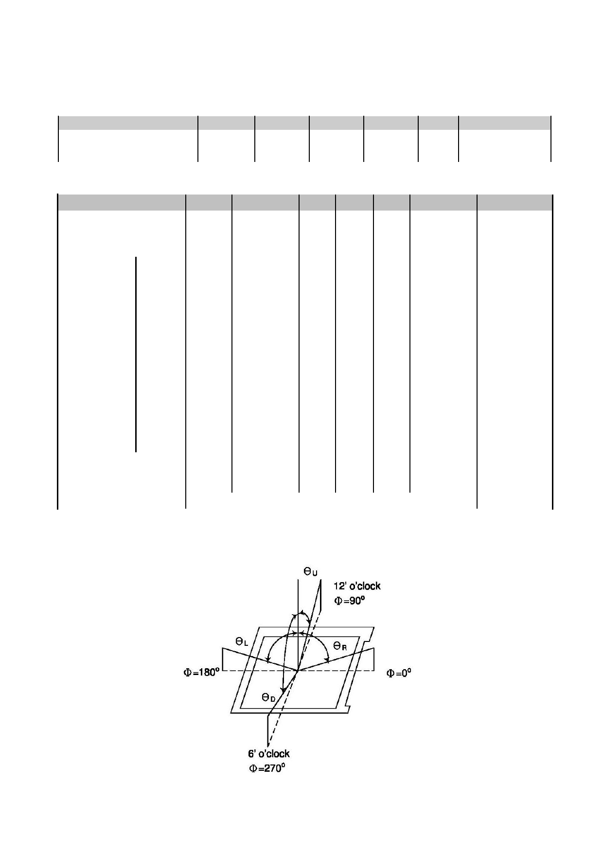
Note 1: Definition of Viewing Angle:
URL: www.topwaydisplay.com
Document Name: LMT088EAPFWA-NAN-Manual-Rev0.1.docx
Page: 5 of 8
TOPWAY
LCD Module User Manual
LMT088EAPFWA-NAN
Note 2: Definition of contrast ratio(CR)
Measured at the center point of panel
Note 3: Definition of Response time: Sum of T R and T F
Note 4: Definition of optical measurement setup
Note 5: Definition of Average Luminance Uniformity of White(Center)
Definition of brightness uniformity
Note 6: Rubbing Direction (The different Rubbing Directiom will cause the different
optimal view direction.)
URL: www.topwaydisplay.com
Document Name: LMT088EAPFWA-NAN-Manual-Rev0.1.docx
Page: 6 of 8
TOPWAY
LCD Module User Manual
LMT088EAPFWA-NAN
7. LCD Module Design and
7. 液晶显示模块设计和使用须知
Handling Precaution
- Please ensure V0, VCOM is adjustable, to enable LCD module get - 请注意 V0, VCOM 的设定, 以确保液晶显示模块在不
the best contrast ratio under different temperatures, view angles and
同的使用温度下以及在不同的视角和位置观察模块显
positions.
示,均能达到最佳对比度,请务必将应用电路上设置
为对比度可调。
- Normally display quality should be judged under the best contrast - 请注意液晶显示模块的显示品质判定是指在正常对比
ratio within viewable area. Unexpected display pattern may com out
度下以及视窗(V.A)范围内进行的,非正常对比度下液
under abnormal contrast ratio.
晶可能会出现非预期的显示不良,应注意区分。
- Never operate the LCD module exceed the absolute maximum - 请勿在最大额定值以外使用液晶显示模块。
ratings.
- Never apply signal to the LCD module without power supply.
- 请勿在没有接通电源的条件下,给液晶显示模块输送
信号。
- Keep signal line as short as possible to reduce external noise - 请尽可能缩短信号线的连接,以避免对液晶显示模块
interference.
的信号干扰。
- IC chip (e.g. TAB or COG) is sensitive to light. Strong light might - 集成电路因 IC 芯片(如 TAB 或 COG)对紫外线极为敏
cause malfunction. Light sealing structure casing is recommended.
感,强光环境下可能会引起液晶显示模块功能失效,
故应采用不透光的外壳。
- Make sure there is enough space (with cushion) between case and - 请在液晶显示模块与外壳之间保留足够的空间(可使用
LCD panel, to prevent external force passed on to the panel;
衬垫),以缓冲外力对液晶显示模块的损坏或因受力不
otherwise that may cause damage to the LCD and degrade its
均而产生的显示不匀等异常现象。
display result.
- Avoid showing a display pattern on screen for a long time - 避免液晶显示屏在某一画面下长时间点亮,否则有出
(continuous ON segment).
现残影的风险;请通过软件每隔一段时间改变一次画
面。
- LCD module reliability may be reduced by temperature shock.
- 液晶显示模块的可靠性可能因温度冲击而降低。
- When storing and operating LCD module, avoids exposure to direct - 请勿在阳光直射、高湿、高温或低温下储存和使用液
sunlight, high humidity, high or low temperature. They may damage
晶显示模块,这将造成液晶显示模块的损坏或失效。
or degrade the LCD module.
- Never leave LCD module in extreme condition (max./min - 请勿在极限环境(最大/最小存储/工作温度)下使用或
storage/operate temperature) for more than 48hr.
放置液晶显示模块超过 48 小时以上。
- Recommend LCD module storage conditions is 0 C~40 C <80%RH. - 液晶显示模块建议存储条件为: 0 C~40 C <80%RH 。
- LCD module should be stored in the room without acid, alkali and - 请勿让液晶显示模块存储于带有 酸性, 碱性, 有害气
harmful gas.
体环境之中。
- Avoid dropping & violent shocking during transportation, and no - 在运输过程中, 请勿让液晶显示模块跌落与猛烈震动,
excessive pressure press, moisture and sunlight.
同时避免 异常挤压, 高湿度, 与 阳光照射
- LCD module can be easily damaged by static electricity. Please - 液晶显示模块极易受静电损坏,请务必保证液晶显示
maintain an optimum anti-static working environment to protect the
模块在防静电的工作环境中使用或保存。(如: 烙铁正
LCD module. (eg. ground the soldering irons properly)
确接地,等)
- Be sure to ground the body when handling LCD module.
- 拿取液晶显示模块时需注意操作人员的接地情况。
- Only hold LCD module by its sides. Never hold LCD module by - 请手持液晶显示模块的边沿取放模块,防止热压纸或
applying force on the heat seal or TAB.
TAB 部位受力。
- When soldering, control the temperature and duration avoid - 焊接液晶模块时,请注意控制烙铁的温度、焊接时
damaging the backlight guide or diffuser which might degrade the
间,以免烫坏导光板或偏光片,导致显示不匀等不良
display result such as uneven display.
现象发生。
- Never let LCD module contact with corrosive liquids, which might - 请勿使用洗板水等腐蚀性液体接触液晶模块,以免腐
cause damage to the backlight guide or the electric circuit of LCD
蚀导光板或模块电路。
module.
- Only clean LCD with a soft dry cloth, Isopropyl Alcohol or Ethyl - 仅可使用柔软的干布, 异丙醇或乙醇清洁液晶屏表
Alcohol. Other solvents (e.g. water) may damage the LCD.
面,其他任何溶剂(如:水)都有可能损坏液晶模块。
- Never add force to components of LCD module. It may cause - 请勿挤压液晶显示模块上的元器件,以避免产生潜在
invisible damage or degrade the module's reliability.
的损坏或失效而影响产品可靠性。
- When mounting LCD module, please make sure it is free from - 装配液晶显示模块时,请务必注意避免液晶显示模块
twisting, warping and bending.
的扭曲或变形。
- Do not add excessive force on surface of LCD, which may cause the - 请勿挤压液晶显示屏表面,这将导致显示颜色的异
display color change abnormally.
常。
- LCD panel is made with glass. Any mechanical shock (e.g. dropping - 液晶屏由玻璃制作而成,任何机械碰撞(如从高处跌
from high place) will damage the LCD module.
落)均有可能损坏液晶显示模块。
URL: www.topwaydisplay.com
Document Name: LMT088EAPFWA-NAN-Manual-Rev0.1.docx
Page: 7 of 8
TOPWAY
LCD Module User Manual
LMT088EAPFWA-NAN
- Protective film is attached on LCD screen. Be careful when peeling - 液晶屏表面带有保护膜, 揭除保护膜时需要注意可能
off this protective film, since static electricity may be generated.
产生的静电。
- Polarizer on LCD gets scratched easily. If possible, do not remove - 因液晶显示屏表面的偏光片极易划伤,安装完成之前
LCD protective film until the last step of installation.
请尽量不要揭下保护膜。
- When peeling off protective film from LCD, static charge may cause - 请缓慢揭除保护膜,在此过程中液晶显示屏上可能会
abnormal display pattern. The symptom is normal, and it will turn
产生静电线,此为正常情况,可在短时间内消失。
back to normal in a short while.
- LCD panel has sharp edges, please handle with care.
- 请注意避免被液晶显示屏的边缘割伤。
- Never attempt to disassemble or rework LCD module.
- 请不要试图拆卸或改造液晶显示模块。
- If display panel is damaged and liquid crystal substance leaks out, - 当液晶显示屏出现破裂, 内部液晶液体可能流出; 相
be sure not to get any in your mouth, if the substance comes into
关液体不可吞吃, 绝对不可接触嘴巴, 如接触到皮肤
contact with your skin or clothes promptly wash it off using soap and
或衣服, 请使用肥皂与清水彻底清洗.
water.
Warranty
This product has been manufactured to our company’s specifications as a part for use in your company’s general
electronic products. It is guaranteed to perform according to delivery specifications. For any other use apart from
general electronic equipment, we cannot take responsibility if the product is used in medical devices, nuclear power
control equipment, aerospace equipment, fire and security systems, or any other applications in which there is a direct
risk to human life and where extremely high levels of reliability are required. If the product is to be used in any of the
above applications, we will need to enter into a separate product liability agreement.
- We cannot accept responsibility for any defect, which may arise form additional manufacturing of the product
(including disassembly and reassembly), after product delivery.
- We cannot accept responsibility for any defect, which may arise after the application of strong external force to the
product.
- We cannot accept responsibility for any defect, which may arise due to the application of static electricity after the
product has passed our company’s acceptance inspection procedures.
- When the product is in CCFL models, CCFL service life and brightness will vary according to the performance of the
inverter used, leaks, etc. We cannot accept responsibility for product performance, reliability, or defect, which may
arise.
- We cannot accept responsibility for intellectual property of a third part, which may arise through the application of
our product to our assembly with exception to those issues relating directly to the structure or method of
manufacturing of our product.
URL: www.topwaydisplay.com
Document Name: LMT088EAPFWA-NAN-Manual-Rev0.1.docx
Page: 8 of 8