LMT101DNLFWD-BAD
LCD Module User Manual
Prepared by:
Checked by:
Approved by:
Song Mao
Date: 2021-10-26
Date:
Date:
Rev. Descriptions
Edit
Release Date
0.1
Preliminary
Song Mao
2020-08-22
0.2
Update K2 Terminal and DC Characteristics
Song Mao
2021-10-26
NURL: www.topwaydisplay.com
Document Name: LMT101DNLFWD-BAD-Manual-Rev0.2.doc
Page: 1 of 13
TOPWAY
LCD Module User Manual
LMT101DNLFWD-BAD
Table of Content
1. General Specification ................................................................................................................................... 3
2. Block Diagram ................................................................................................................................................ 3
3. Terminal Function ......................................................................................................................................... 4
3.1 K1 Terminal (DVI FEMALE(24+5)) .................................................................................................................................................. 4
3.2 K2 Terminal (3Pin P5.08 Phoenix Or Equivalent) ............................................................................................................................. 4
4. Absolute Maximum Ratings ....................................................................................................................... 5
5. Electrical Characteristics ............................................................................................................................ 5
5.1 DC Characteristics .................................................................................................................................................................................. 5
5.2 DC Characteristics (LVDS) .................................................................................................................................................................... 5
5.3 POWER ON/OFF SEQUENCE ............................................................................................................................................................. 6
6. AC Characteristics ........................................................................................................................................ 6
6.1 AC Characteristics(LVDS) ..................................................................................................................................................................... 6
6.1.1 Input Clock and Data timing Diagram: ............................................................................................. 7
6.1.2 LVDS data input format ...................................................................................................................... 7
7. Optical Characteristics ................................................................................................................................ 8
8. LCD Module Design and Handling Precautions ................................................................................. 10
9. CTP Mounting Instructions ...................................................................................................................... 11
10. RTP Mounting Instructions .................................................................................................................... 12
Warranty ....................................................................................................................................................... 13
NURL: www.topwaydisplay.com
Document Name: LMT101DNLFWD-BAD-Manual-Rev0.2.doc
Page: 2 of 13
TOPWAY
LCD Module User Manual
LMT101DNLFWD-BAD
1. General Specification
Signal Interface :
LVDS (18 bits)
Display Mode :
Transmissive with Normally White
Screen Size :
10.1 inch
Outline Dimension :
280.0 x 214.0 x 28.0(mm)
(see outline drawing for details)
Active Area :
216.96x 135.6(mm)
Number of dots :
1280x 3 (RGB) x 800
Dot Pitch :
0.178x 0.178(mm)
Pixel Configuration :
R.G.B. Vertical Stripe
Touch Panel Type:
Capacitive Touch Panel
Backlight :
White LED
Viewing Direction :
All direction
Operating Temperature :
-20 ~ +70°C
Storage Temperature :
-30 ~ +80°C
Note:
*1. Color tone may slightly change by temperature and driving condition.
2. Block Diagram
Capacitive Touch Panel
1280(x3) x 800 pixels
Source Driver
VDD(5V),GND
RX0+,RX0-,RX1+,RX1-
LVDS Interface
Power Circuit
RX2+,RX2-,RxCLK+,RxCLK-
USB_DM, USB_DP
BL_PWM
VCC(12V),GND
Backlight Circuit
NURL: www.topwaydisplay.com
Document Name: LMT101DNLFWD-BAD-Manual-Rev0.2.doc
Page: 3 of 13
TOPWAY
LCD Module User Manual
LMT101DNLFWD-BAD
3. Terminal Function
3.1 K1 Terminal (DVI FEMALE(24+5))
Pin No.
Pin Name
IO
Descriptions
1
RX2-
Input
LVDS receiver negative signal channel 2
2
RX2+
Input
LVDS receiver positive signal channel 2
3
GND
Power Ground
4
BL_PWM
Input
Backlight dimming control
5
NC
-
No connection
6
5V
Power Positive power supply(5.0V)
7
5V
Power Positive power supply(5.0V)
8
5V
Power Positive power supply(5.0V)
9
RX1-
Input
LVDS receiver negative signal channel 1
10
RX1+
Input
LVDS receiver positive signal channel 1
11
GND
Power Ground
12
RX3-
Input
LVDS receiver negative signal channel 3
13
RX3+
Input
LVDS receiver positive signal channel 3
14
5V
Power Positive power supply(5.0V)
15
GND
Power Ground
16
GND
Power Ground
17
RX0-
Input
LVDS receiver negative signal channel 0
18
RX0+
Input
LVDS receiver positive signal channel 0
19
GND
Power Ground
20
USB_DM
I/O
USB D- signal
21
USB_DP
I/O
USB D+ signal
22
GND
Power Ground
23
RXCLK+
Input
LVDS receiver positive signal clock
24
RXCLK-
Input
LVDS receiver negative signal clock
25
5V
Power Positive power supply(5.0V)
26
5V
Power Positive power supply(5.0V)
27
NC
-
No connection
28
NC
-
No connection
29
GND
Power Ground
--
SHELL
--
Case ground
Note:
The PWM duty cycle will adjust the brightness of the display accordingly through "automatic control "Display
brightness "function (refer to chapter 6.1)
3.2 K2 Terminal (3Pin P5.08 Phoenix Or Equivalent)
Pin No.
Pin Name
I/O
Descriptions
1
VCC(12V)
Power Backlight Positive power supply(12V)
2
GND
Power Ground
3
PE
Power Protecting Earthing
NURL: www.topwaydisplay.com
Document Name: LMT101DNLFWD-BAD-Manual-Rev0.2.doc
Page: 4 of 13
TOPWAY
LCD Module User Manual
LMT101DNLFWD-BAD
4. Absolute Maximum Ratings
Items
Symbol
Min.
Max.
Unit
Condition
Power Supply voltage
VDD
-0.3
5.5
V
Power Supply voltage
VCC
-0.3
12.5
V
Operating Temperature
T OP
-20
70
C
No Condensation
Storage Temperature
T ST
-30
80
C
No Condensation
Relative humidity
HR
5%
95%
No Condensation
Note :
*1. This rating applies to all parts of the module. And should not be exceeded.
*2. The operating temperature only guarantees operation of the circuit. The contrast, response speed,
and the other specification related to electro-optical display quality is determined at the room temperature, T OP =25 ℃
*3. Any Stresses exceeding the Absolute Maximum Ratings may cause substantial damage to the device. Functional
operation of this device at other conditions beyond those listed in the specification is not implied and prolonged
exposure to extreme conditions may affect device reliability.
5. Electrical Characteristics
5.1 DC Characteristics
VDD=5.0V, GND=0V,T op =25 C
Items
Symbol
MIN.
TYP.
MAX. Unit Note
Supply Voltage
VDD
4.7
5.0
5.3
V
VDD Power Consumption
I VDD
--
250
--
mA *1
Supply Voltage
VCC
11.5
12.0
12.5
V
VCC Power Consumption
I VCC
--
680
-
mA
Backlight Life
-
50000
Hrs
VLED_PWM frequency
F PWM
200
-
5K
HZ
VLED_PWM duty
D
5
-
100
%
Note *1: Backlight brightness is 100%.
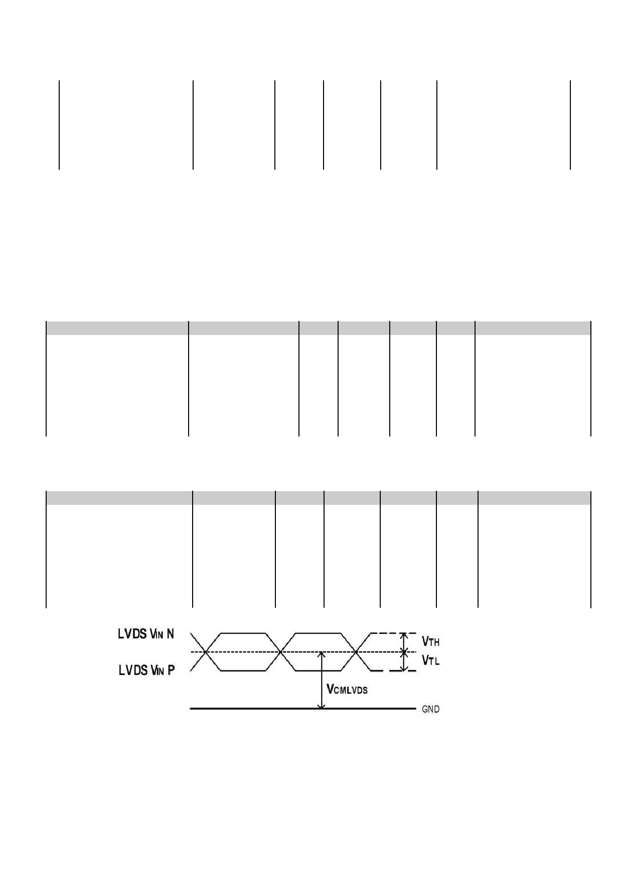
5.2 DC Characteristics (LVDS)
VDD=5.0V, GND=0V, T op =25 C
Items
Symbol
MIN.
TYP.
MAX.
Unit Note
Differential Input High
-
100
mV
Threshold
V TH
-
Differential Input Low
Threshold
V TL
-100
-
-
mV
Input Current
I IN
± 10
uA
Differential Input common
Mode voltage
V CMLVDS
1.65
-
2.1
V
LVDS DC Characteristics
NURL: www.topwaydisplay.com
Document Name: LMT101DNLFWD-BAD-Manual-Rev0.2.doc
Page: 5 of 13
TOPWAY
LCD Module User Manual
LMT101DNLFWD-BAD
5.3 POWER ON/OFF SEQUENCE
Parameter
Symbol
MIN.
TYP.
MAX.
Unit Note
VDD 3.0V to signal starting
Tp1
0
-
50
ms
Signal staring to backlight on
Tp2
150
-
-
ms
Signal off to VDD 3.0V
Tp3
0
-
50
ms
Backlight off to signal off
Tp4
150
-
-
ms
Interface Power On/Off Sequence
6. AC Characteristics
6.1
AC Characteristics(LVDS)
VDD=5.0V, GND=0V, T op =25 C
Parameter
Symb
Min
Typ
Max
Unit
Remark
ol
CLK frequency
1/tclk
62.6
68.2
78.1
MHz
Horizontal blanking time
tHBT
20
69
164
tclk
thbp + tHFP
Horizontal back porch
tHBP
-
5
164- tHFP
tclk
Horizontal display area
tHD
-
1280
-
tclk
Horizontal front porch
tHFP
15
64
159
tclk
Horizontal period
tH
1300 1349
1444
tclk
Horizontal pulse width
tHPW
-
1
256
tclk
Vertical blanking time
tVBT
5
42
101
tH
tVBP + tVFP
Vertical back porch
tVBP
-
2
101- tVFP
tH
Vertical display area
tVD
-
800
-
tH
Vertical front porch
tVFP
3
40
99
tH
Vertical period
tV
803
842
901
tH
Vertical pulse width
tVPW
-
1
128
tH
Frame Rate
F
-
60
-
HZ
Table 5.1 timing parameter
NURL: www.topwaydisplay.com
Document Name: LMT101DNLFWD-BAD-Manual-Rev0.2.doc
Page: 6 of 13
TOPWAY
LCD Module User Manual
LMT101DNLFWD-BAD
6.1.1 Input Clock and Data timing Diagram:
Figure 5.2 Input signal data timing
6.1.2 LVDS data input format
NURL: www.topwaydisplay.com
Document Name: LMT101DNLFWD-BAD-Manual-Rev0.2.doc
Page: 7 of 13
TOPWAY
LCD Module User Manual
LMT101DNLFWD-BAD
7. Optical Characteristics
Item
Symbol
Conditio
Min
Typ
Max
Unit
Remark
θ T
n
75
85
-
View Angles
θ B
CR ≧ 10
75
85
-
Degree
Note 2
θ L
75
85
-
θ R
75
85
-
Contrast Ratio
CR
θ =0 °
600
800
-
-
Note1
Note3
Response Time
TON+TOFF
25 ℃
-
25
40
ms
Note1
Note4
White
x
0.252
0.302
0.352
y
0.277
0.327
0.377
Red
x
0.532
0.582
0.632
y
Backlight
0.274
0.324
0.374
Chromaticity
Note5
x
is
0.300
0.350
0.400
-
Green
Note1
y
on
0.532
0.582
0.632
Blue
x
0.104
0.154
0.204
y
0.044
0.094
0.144
Uniformity
U
-
75
80
-
%
Note1
Note6
NTSC
-
-
45
50
-
%
Note 5
Luminance
L
850
-
cd/m 2
Note1
Note7
Test Conditions:
1. The ambient temperature is 25±2 ℃ .humidity is 65±7%
2. The test systems refer to Note 1 and Note 2.
Note 1: Definition of optical measurement system.
The optical characteristics should be measured in dark room. After 5 Minutes operation, the optical
properties are measured at the center point of the LCD screen. All input terminals LCD panel must
be ground when measuring the center area of the panel.
Note 2: Definition of viewing angle range and measurement system.
viewing angle is measured at the center point of the LCD.
NURL: www.topwaydisplay.com
Document Name: LMT101DNLFWD-BAD-Manual-Rev0.2.doc
Page: 8 of 13
TOPWAY
LCD Module User Manual
LMT101DNLFWD-BAD
Note 3:Definition of contrast ratio
“White state”: The state is that the LCD should driven by Vwhite.
“Black state”: The state is that the LCD should driven by Vblack.
Vwhite: To be determined
Vblack: To be determined.
Note 4:Definition of Response time
The response time is defined as the LCD optical switching time interval between “White” state and “Black” state.
Rise time (TON) is the time between photo detector output intensity changed from 90% to 10%. And fall time
(TOFF) is the time between photo detector output intensity changed from 10% to 90%.
White (TFT off) Black (TFT on) White (TFT off)
Note 5: Definition of color chromaticity (CIE1931)
Color coordinates measured at center point of LCD.
Note 6: Definition of Luminance Uniformity
Active area is divided into 9 measuring areas (Refer Fig. 2). Every measuring point is placed at the
center of each measuring area.
L-------Active area length
W----- Active area width
Luminance Uniformity (U) = Lmin/ Lmax
Lmax: The measured Maximum luminance of all measurement position.
Lmin: The measured Minimum luminance of all measurement position.
Note 7: Definition of Luminance:
Measure the luminance of white state at center point.
NURL: www.topwaydisplay.com
Document Name: LMT101DNLFWD-BAD-Manual-Rev0.2.doc
Page: 9 of 13
TOPWAY
LCD Module User Manual
LMT101DNLFWD-BAD
8. 液晶显示模块设计和使用须知
8. LCD Module Design and Handling
Precautions
- Please ensure V0, VCOM is adjustable, to enable LCD module get - 请注意 V0, VCOM 的设定, 以确保液晶显
the best contrast ratio under different temperatures, view angles
示模块在不同的使用温度下以及在不同的
and positions.
视角和位置观察模块显示,均能达到最佳
对比度,请务必将应用电路上设置为对比
- Normally display quality should be judged under the best contrast
度可调。
ratio within viewable area. Unexpected display pattern may com out - 请注意液晶显示模块的显示品质判定是指
under abnormal contrast ratio.
在正常对比度下以及视窗(V.A)范围内进
- Never operate the LCD module exceed the absolute maximum
行的,非正常对比度下液晶可能会出现非
ratings.
预期的显示不良,应注意区分。
- Never apply signal to the LCD module without power supply.
- 请勿在最大额定值以外使用液晶显示模
块。
- Keep signal line as short as possible to reduce external noise
interference.
- 请勿在没有接通电源的条件下,给液晶显
- IC chip (e.g. TAB or COG) is sensitive to light. Strong light might
示模块输送信号。
cause malfunction. Light sealing structure casing is recommended.
- 请尽可能缩短信号线的连接,以避免对液
晶显示模块的信号干扰。
- Make sure there is enough space (with cushion) between case and - 集成电路因 IC 芯片(如 TAB 或 COG)对紫外
LCD panel, to prevent external force passed on to the panel;
线极为敏感,强光环境下可能会引起液晶
otherwise that may cause damage to the LCD and degrade its
显示模块功能失效,故应采用不透光的外
display result.
壳。
- Avoid showing a display pattern on screen for a long time - 请在液晶显示模块与外壳之间保留足够的
(continuous ON segment).
空间(可使用衬垫),以缓冲外力对液晶显
示模块的损坏或因受力不均而产生的显示
- LCD module reliability may be reduced by temperature shock.
不匀等异常现象。
- When storing and operating LCD module, avoids exposure to direct
sunlight, high humidity, high or low temperature. They may damage - 避免液晶显示屏在某一画面下长时间点
or degrade the LCD module.
亮,否则有出现残影的风险;请通过软件
- Never leave LCD module in extreme condition (max./min
每隔一段时间改变一次画面。
storage/operate temperature) for more than 48hr.
- 液晶显示模块的可靠性可能因温度冲击而
- Recommend LCD module storage conditions is 0 C~40 C
降低。
<80%RH.
- 请勿在阳光直射、高湿、高温或低温下储
- LCD module should be stored in the room without acid, alkali and
存和使用液晶显示模块,这将造成液晶显
harmful gas.
示模块的损坏或失效。
- Avoid dropping & violent shocking during transportation, and no
excessive pressure press, moisture and sunlight.
- 请勿在极限环境(最大/最小存储/工作温
- LCD module can be easily damaged by static electricity. Please
度)下使用或放置液晶显示模块超过 48 小
maintain an optimum anti-static working environment to protect the
时以上。
LCD module. (eg. ground the soldering irons properly)
- 液晶显示模块建议存储条件为: 0 C~40 C
- Be sure to ground the body when handling LCD module.
<80%RH 。
- Only hold LCD module by its sides. Never hold LCD module by - 请勿让液晶显示模块存储于带有 酸性,
applying force on the heat seal or TAB.
碱性, 有害气体环境之中。
- When soldering, control the temperature and duration avoid - 在运输过程中, 请勿让液晶显示模块跌落
damaging the backlight guide or diffuser which might degrade the
与猛烈震动, 同时避免 异常挤压, 高湿
display result such as uneven display.
度, 与阳光照射.
- Never let LCD module contact with corrosive liquids, which might - 液晶显示模块极易受静电损坏,请务必保
cause damage to the backlight guide or the electric circuit of LCD
证液晶显示模块在防静电的工作环境中使
module.
用或保存。(如: 烙铁正确接地,等)
- Only clean LCD with a soft dry cloth, Isopropyl Alcohol or Ethyl - 拿取液晶显示模块时需注意操作人员的接
Alcohol. Other solvents (e.g. water) may damage the LCD.
地情况。
- Never add force to components of LCD module. It may cause - 请手持液晶显示模块的边沿取放模块,防
invisible damage or degrade the module's reliability.
止热压纸或 TAB 部位受力。
- When mounting LCD module, please make sure it is free from - 焊接液晶模块时,请注意控制烙铁的温
twisting, warping and bending.
度、焊接时间,以免烫坏导光板或偏光
- Do not add excessive force on surface of LCD, which may cause
片,导致显示不匀等不良现象发生。
the display color change abnormally.
- 请勿使用洗板水等腐蚀性液体接触液晶模
- LCD panel is made with glass. Any mechanical shock (e.g.
块,以免腐蚀导光板或模块电路。
NURL: www.topwaydisplay.com
Document Name: LMT101DNLFWD-BAD-Manual-Rev0.2.doc
Page: 10 of 13
TOPWAY
LCD Module User Manual
LMT101DNLFWD-BAD
dropping from high place) will damage the LCD module.
- 仅可使用柔软的干布, 异丙醇或乙醇清洁
液晶屏表面,其他任何溶剂(如:水)都有
可能损坏液晶模块。
- 请勿挤压液晶显示模块上的元器件,以避
免产生潜在的损坏或失效而影响产品可靠
性。
- 装配液晶显示模块时,请务必注意避免液
晶显示模块的扭曲或变形。
- 请勿挤压液晶显示屏表面,这将导致显示
颜色的异常。
- 液晶屏由玻璃制作而成,任何机械碰撞
(如从高处跌落)均有可能损坏液晶显示模
块。
- Protective film is attached on LCD screen. Be careful when peeling - 液晶屏表面带有保护膜, 揭除保护膜时需
off this protective film, since static electricity may be generated.
要注意可能产生的静电。
- Polarizer on LCD gets scratched easily. If possible, do not remove - 因液晶显示屏表面的偏光片极易划伤,安
LCD protective film until the last step of installation.
装完成之前请尽量不要揭下保护膜。
- When peeling off protective film from LCD, static charge may cause - 请缓慢揭除保护膜,在此过程中液晶显示
abnormal display pattern. The symptom is normal, and it will turn
屏上可能会产生静电线,此为正常情况,
back to normal in a short while.
可在短时间内消失。
- LCD panel has sharp edges, please handle with care.
- Never attempt to disassemble or rework LCD module.
- 请注意避免被液晶显示屏的边缘割伤。
- If display panel is damaged and liquid crystal substance leaks out, - 请不要试图拆卸或改造液晶显示模块。
be sure not to get any in your mouth, if the substance comes into - 当液晶显示屏出现破裂, 内部液晶液体可
contact with your skin or clothes promptly wash it off using soap
能流出; 相关液体不可吞吃, 绝对不可接
and water.
触嘴巴, 如接触到皮肤或衣服, 请使用肥
皂与清水彻底清洗.
9. CTP Mounting Instructions
9. 电容触摸屏安装指导
9.1 Bezel Mounting (Figure 1)
9.1 面框安装(附图 1)
- The bezel window should be bigger than the CTP active area. It - 客户面框窗口应大于 CTP 动作区域,各边
should be ≥ 0.5mm each side.
离动作区应≥0.5mm.
- Gasket should be installed between the bezel and the CTP surface. - 面框与 CTP 面板间应垫有胶垫,其最终间
The final gap should be about 0.5~1.0mm.
隙约为 0.5~1.0mm.
- It is recommended to provide an additional support bracket for - 建议必要时在背面提供附加支架(例如无
backside support when necessary (e.g. slim type TFT module
安装结构的薄型 TFT 模块),应仅利用适
without mounding structure). They should only provide appropriate
当支撑以保持模块位置.
support and keep the module in place.
- The mounting structure should be strong enough to prevent
external uneven force or twist act onto the module.
- 安装结构应具有足够的强度,以防止外部
不均匀力或扭曲力作用到模块上.
Figure1
9.2 Surface Mounting (Figure 2)
9.2 嵌入安装(附图 2)
- As the CTP assembling on the countersink area with double side - 客户面框应具有使用双面胶粘贴 CTP 的结
adhesive.
构沉台面,其粘贴面要求平整且洁净无污
The countersink area should be flat and clean to ensure the double
以保证粘贴牢靠.
side adhesive installation result.
- The Bezel is recommend to keep a gap ( ≥ 0.3mm each side)
NURL: www.topwaydisplay.com
Document Name: LMT101DNLFWD-BAD-Manual-Rev0.2.doc
Page: 11 of 13
TOPWAY
LCD Module User Manual
LMT101DNLFWD-BAD
around the cover lens for tolerance.
- 考虑到制作误差,建议面框与 CTP 盖板之
- It is recommended to provide an additional support bracket with
间四周留有≥0.3mm 间隙.
gasket for backside support when necessary (e.g. TFT module - 建议必要时在背面提供垫有胶垫附加支架
without mounding structure). They should only provide appropriate
(例如无安装结构的 TFT 模块),应仅利用
support and keep the module in place.
适当支撑以保持模块位置.
- The mounting structure should be strong enough to prevent
external uneven force or twist act onto the module
- 安装结构应具有足够的强度,以防止外部
不均匀力或扭曲力作用到模块上。
Figure 2
9.3 Additional Cover Lens Mounting (Figure 3)
9.3 覆加盖板(附图 3)
- For the case of additional cover Lens mounting, it is necessary to - 需要覆加玻璃盖板的安装,为确保其功
recheck with the CTP specification about the material and
能,有必要查看产品规格书中有关盖板材
thickness to ensure the functionality.
料和厚度的说明.
- It should keep a 0.2~0.3mm gap between the cover lens and the
CTP surface..
- 玻璃盖板与 CTP 表面之间应留有 0.2~
- The cover lens window should be bigger than the active area of the
0.3mm 间隙.
CTP.It should be ≥ 0.5mm each side.
- It is recommended to provide an additional support bracket for - 玻璃盖板视窗应大于 CTP 动作区域,各边
backside support when necessary (e.g. slim type TFT module
离动作区应≥0.5mm。
without mounding structure). They should only provide appropriate - 建议必要时在背面提供附加支架(例如无
support and keep the module in place.
安装结构的薄型 TFT 模块),应仅利用适
- The mounting structure should be strong enough to prevent
当支撑以保持模块位置.
external uneven force or twist act onto the module.
- 安装结构应具有足够的强度,以防止外部
不均匀力或扭曲力作用到模块上.
Figure3
10. 电阻触摸屏安装指导
10. RTP Mounting Instructions
- 为避免面框直接压在动作区(A.A.)上造成
误动作,面框与电阻触摸屏(RTP)之间应
- It should bezel touching the RTP Active Area (A.A.) to prevent
留有一定的空隙 D=0.2~0.3mm 之间.(附图
abnormal touch.It should left gab D=0.2~0.3mm in between.
4)
(Figure 4)
- Outer bezel design should take care about the area outside the
- 设计面框时,要注意用面框保护触摸屏四
A.A. Those areas contain circuit wires which is having different
周的非保证操作区域,因为布线区域在此
thickness. Touching those areas could de-form the ITO film. As a
处形成一台阶,在此区域附近操作时 ITO
result bezel the ITO film be damaged and shorten its lifetime.
Film 变形较大,容易导致 ITO 损坏而降低
It is suggested to protect those areas with gasket (between the
寿命。为保护 RTP 和避免误操作,在 RTP
bezel and RTP).The suggested figures are B≥0.50mm; C≥0.50mm.
与面框之间垫缓冲物(Gasket),我们建
NURL: www.topwaydisplay.com
Document Name: LMT101DNLFWD-BAD-Manual-Rev0.2.doc
Page: 12 of 13
TOPWAY
LCD Module User Manual
LMT101DNLFWD-BAD
(Figure 4)
议设计面框应覆盖动作区的边缘,面框边
缘到 V.A.区的距离 B≥0.50mm; 垫圈内边
缘到 V.A.区的距离 C≥0.50mm. (附图 4)
- The bezel side wall should keep space E= 0.2 ~ 0.3mm from the
- 在设计面框与 RTP 组装时,应考虑到面框
RTP. (Figure 4)
内侧与 RTP 外侧的间距 E≥0.2mm. (附图
4)
Figure 4
- In general design,
- 通常设计时:
RTP V.A. should be bigger than the TFT V.A.
RTP 的可视区 V.A. 应不小于 TFT 的可视
and RTP A.A. should be bigger than the TFT A.A.
区 V.A.
(Figure 5)
及 RTP 的动作区 A.A. 应不小于 TFT 的动
作区 A.A.
(附图 5)
Figure 5
Warranty
This product has been manufactured to our company’s specifications as a part for use in your company’s general electronic
products. It is guaranteed to perform according to delivery specifications. For any other use apart from general electronic
equipment, we cannot take responsibility if the product is used in medical devices, nuclear power control equipment,
aerospace equipment, fire and security systems, or any other applications in which there is a direct risk to human life and
where extremely high levels of reliability are required. If the product is to be used in any of the above applications, we will
need to enter into a separate product liability agreement.
- We cannot accept responsibility for any defect, which may arise form additional manufacturing of the product (including
disassembly and reassembly), after product delivery.
- We cannot accept responsibility for any defect, which may arise after the application of strong external force to the
product.
- We cannot accept responsibility for any defect, which may arise due to the application of static electricity after the
product has passed our company’s acceptance inspection procedures.
- When the product is in CCFL models, CCFL service life and brightness will vary according to the performance of the
inverter used, leaks, etc. We cannot accept responsibility for product performance, reliability, or defect, which may arise.
- We cannot accept responsibility for intellectual property of a third part, which may arise through the application of our
product to our assembly with exception to those issues relating directly to the structure or method of manufacturing of
our product.
NURL: www.topwaydisplay.com
Document Name: LMT101DNLFWD-BAD-Manual-Rev0.2.doc
Page: 13 of 13